Texas Instruments TMUX9616QFPEVM Evaluation Module
Texas Instruments TMUX9616QFPEVM Evaluation Module is designed to quickly and easily prototype the TMUX9616PT and TMUX9616NPT multiplexers. The TMUX9616 and TMUX9616N are 16-channel, low-resistance, low-capacitance, high-voltage analog switch integrated circuits (ICs) with latch-up immunity. The devices have 16 independently selectable 1:1, single-pole, single-throw (SPST) switch channels and operate with dual supplies up to ±110V. The TMUX9616 features bleed resistors on the output, while the TMUX9616N does not.The TMUX9616N can be ordered separately and placed on the TI TMUX9616QFPEVM for evaluation.
Features
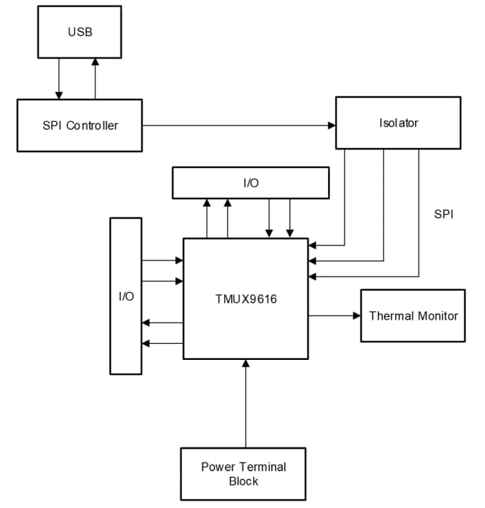
- Integrated SPI controller hardware and GUI for communications with TMUX9616
- Direct docking headers for easy TX7516 pulser integration
- Header pins for monitoring all source and drain pins and digital control pins
- Power supply terminals for VDD, VLL, and GND with populated decoupling capacitors near the input supply terminal and device
- Thermal shutdown monitoring circuit with LED signal
Applications
- Medical ultrasound imaging
- NDT metal flaw detection
- Piezoelectric transducer drivers
- Ultrasonic flow transmitters
- Printers
- Optical MEMS modules
Kit Contents
- TMUX9616QFPEVM
- Mini-USB cable
Functional Block Diagram
Layout
Publicado: 2025-05-29
| Actualizado: 2025-06-06
