Digitalizador de gráficos RGB y descodificador de vídeo SDTV/HDTV de 10 bits ADV7181D de Analog Devices

Descodificador de vídeo SDTV/HDTV de 10 bits
ADV7181D y digitalizador de gráficos RGB de Analog Devices

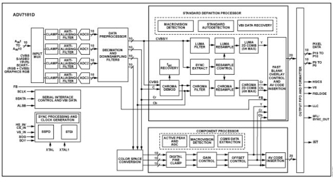
El descodificador de vídeo SDTV/HDTV de 10 bits ADV7181D de Analog Devices está diseñado como un conjunto de descodificador de vídeo multiformato y digitalizador de gráficos en un único chip y de alta calidad. El ADV7181D cuenta con dos secciones de procesamiento principales. La primera sección es el procesador de definición estándar (SDP), que permite la conversión de los estándares PAL, NTSC y SECAM en un formato de vídeo compuesto o S-Vídeo a un formato ITU-R BT.656 digital. La segunda sección es el procesador de componentes (CP), que permite la decodificación de una señal de vídeo componente RGB/YPrPb en una transmisión de salida digital en píxeles YCrCb o RGB. La compatibilidad con vídeo componente incluye estándares como 525i, 625i, 525p, 625p, 720p, 1080i, y muchos otros estándares HD y SMPTE. Además, el ADV7181D también permite la digitalización de señales de gráficos RGB desde velocidades VGA a XGA y su conversión en una transmisión de salida en píxeles de tipo DDR RGB o YCrCb. Las funciones SCART y superposición están habilitadas gracias a la capacidad del ADV7181D para procesar de forma simultánea las señales CVBS y las señales RGB de definición estándar. La combinación de estas señales se controla a través del pin inactivo rápido (FB).

Características
  • Homologado para aplicaciones de automoción
  • Muestreo de cuatro ADC de 10 bits hasta 75 MHz
  • 10 canales de entrada analógicos
  • Admite supresión rápida de SCART
  • Filtros antialias internos
  • Compatible con estándares de color NTSC, PAL y SECAM
  • Compatible con exploración progresiva de componentes de 525p/625p
  • Compatible con HDTV de componentes de 720p/1080i
  • Digitaliza gráficos RGB hasta 1024 × 768 a 70 Hz (XGA)
  • Matriz de conversión de espacios de color 3 × 3
  • Intervalo de temperatura industrial: de −40 °C a +85 °C
Aplicaciones
  • Entretenimiento en automoción
  • HDTV
  • Proyectores LCD/DLP®
  • STB HDTV con PVR
  • Grabadores de DVD compatibles con entrada de exploración progresiva
  • Receptores AVR
Diagrama de bloques funcional
Diagrama de bloques funcional
eNews
  • Analog Devices Inc.